Усилители Music Angel

    XD500MKIII
    XD800MKIII
    XD845MKIII
    XD845LE
    XD850MKIII
    XD8502AIII
    XD900MKIII
    T24 фонокорректор

Ламповый усилитель XD500MKIII: EL34, 2х50 Вт Ламповый усилитель XD800MKIII: KT88, 2х65 Вт Ламповый усилитель XD845MKIII: 845, 2х20 Вт Ламповый усилитель XD850MKIII: 300B, 2х9 Вт Ламповый усилитель XD8502AIII: 300B, 2х9 Вт Предварительный ламповый усилитель XD900MKIII: 12AU7, 12AX7

Усилители ARIA

    MINI 6
    MINI 5.1
    MINIP1
    MINIL3
    MINIP14

Ламповый усилитель MINI 6: KT88, 2х60 Вт Ламповый усилитель MINIP1: 6AQ5, 2х10 Вт Ламповый усилитель MINIL3: EL34, 2х35 Вт Ламповый усилитель MINIP14: 6P14, 2х10 Вт

Усилители LACONIC

    HA-02
    HA-03B
    HA-03B2
    HA-03M
    Lunch Box Pro

Ламповые усилители LACONIC HA-02,03B/B2/M: 6N6P, 2х1,2 Вт на 300 Ом

Акустические системы

    Music Angel One
    Music Angel 2.5
    Music Angel TK-10
    DIVA 5.2

Акустическая система Music Angel One: 20 - 100 Вт, 38 Гц - 30 кГц, 86 Дб/Вт/м Акустическая система Music Angel 2.5: 20 - 200 Вт, 20 Гц - 30 кГц, 86 Дб/Вт/м Акустическая система Music Angel TK-10: 10 - 250 Вт, 45 Гц - 22 кГц, 8 Ом, 97 дБ/Вт/м Акустическая система DIVA 5.2: 10 - 150 Вт, 36 Гц - 20 кГц, 90 дБ/Вт/м

Комплектующие

    Лампы
    Кабели

КТ 88: Filament Voltage 6.3 V Filament Current 1.6 A Plate Voltage (max) 800 V Plate Current (max) 230 mA Plate Dissipation (max) 40 W 845: D.C. Plate Voltage 1250 D.C. Grid Voltage -98 Peak A.F. Grid Voltage 93 D.C. Plate Current (ma.) 95 Power Output (watts) 15 21 300B: Filament Voltage 5 V Filament Current 1.2 A Plate Voltage (max) 450 V Plate Current (max) 100 mA Plate Dissipation (max) 40 W

Это интересно

Одной из первых конструкций, которую строит радиолюбитель, обычно является трех- или четырех- ламповый усилитель НЧ, предназначенный для воспроизведения грамзаписей. Часто такой усилитель объединяют в одном ящике с электродвигателем и звукоснимателем и получают переносное устройство.
    Ниже приводится описание переносного проигрывателя, позволяющего воспроизводить записи с обычных и долгоиграющих пластинок, с громкостью, достаточной для комнаты средних размеров.
    Как видно из принципиальной схемы (рис. 1), в усилителе проигрывателя используются две лампы. На двойном триоде 6Н2П (Л1) выполнен двух каскадный усилитель напряжения, а в выходном каскаде усилителя НЧ работает мощный пентод 6П4П. Этот пентод обладает весьма высокой крутизной (11 мА/в), благодаря чему можно было бы ограничиться одним каскадом предварительного усиления. Однако применение двухкаскадного усилителя на двойном триоде создает большой запас усиления по напряжению. Запас усиления в свою очередь позволяет ввести глубокую отрицательную обратную связь и улучшить качественные показатели усилителя.
    Напряжение со звукоснимателя под-. водится к зажимам 1, 2, т. е. к потенциометру R1, с помощью которого осуществляется регулировка громкости. С анодной нагрузки первого каскада усилителя (R2) напряжение НЧ подается на делитель, образованный сопротивлением R5 зашунтированным конденсатором С2 (участок а, б) и цепочкой R6,C3 С помощью этого делителя осуществляется подъем частотной характеристики усилителя в области низших звуковых частот. Действительно, с уменьшением частоты сопротивление конденсатора С3, а следовательно, и общее сопротивление участка бв возрастает, а вместе с ним увеличивается напряжение, подводимое к сетке лампы второго каскада (Л1б). Утечкой сетки лампы Л1б является сопротивление R4
    Конденсатор С2 создает некоторый подъем частотной характеристики в области высших звуковых частот, так как на этих частотах сопротивление конденсатора С2 (а следовательно, всего участка аб) мало и почти все напряжение, поступающее с первого каскада (Л1а), оказывается приложенным к сетке лампы второго каскада усилителя напряжения (Л1б). Корректировка частотной Характеристики в области высших частот осуществляется с помощью регулятора тембра Rl0. На это сопротивление из анодной цепи лампы Л2 подается напряжение отрицательной обратной связи. Эта обратная связь эффективно действует только на высших звуковых частотах, так как сопротивление конденсатора Cs на средних и низших звуковых частотах очень велико. Перемещая движок потенциометра R10, можно изменять глубину обратной связи в области высших частот: когда движок находится в нижнем (по схеме) положении, то напряжение обратной связи равно нулю и частотная характеристика в области высших частот имеет подъем (рис. 2, кривая а) вследствие применения конденсатора С2. Когда движок потенциометра Rl0 находится в крайнем верхнем (по схеме) положении, то обратная связь оказывается наиболее сильной, что в свою очередь приводит к завалу частотной характеристики в области высших звуковых частот (рис. 2, кривая в).
    Основная цепь отрицательной обратной связи, предназначенная для уменьшения нелинейных искажений, охватывает весь усилитель: со вторичной обмотки выходного трансформатора напряжение обратной связи подается на сопротивление R3, т. е. фактически на сетку лампы Л1а. Глубину этой обратной связи можно регулировать подбором сопротивления R12 чем больше это сопротивление, тем большая часть выходного напряжения падает на нем, тем, следовательно, слабее обратная связь. С целью снижения общей стоимости усилителя сопротивления смещения в катодных цепях всех ламп не заблокированы электролитическими конденсаторами. При этом каждый из трех усилительных каскадов оказывается охваченным отрицательной обратной связью по току. Такая обратная связь хотя ,и снижает нелинейные искажения, все же является нежелательной (особенно в выходном каскаде), так как ухудшает частотную характеристику усилителя в области низших частот. Для компенсации отрицательной обратной связи по току вводится положительная обратная связь путем соединения катодов ламп Л1б и Л2 через сопротивление R9.
    Далее...

 
 

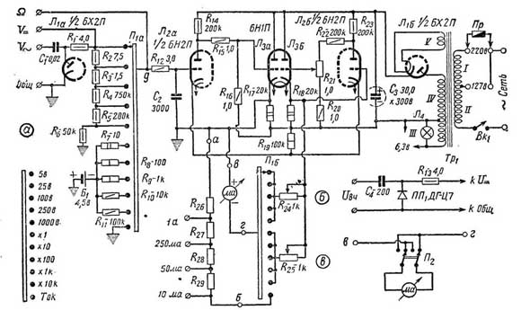
Ламповый авометр

 

Основой большинства любительских ламповых авометров является измерительный мост, в диагональ которого включен стрелочный прибор, при этом в качестве одного или нескольких сопротивлений, образующих такой мост, используются усилительные электронные лампы, чаще всего триоды. Измеряемое напряжение тем или иным путем подается на сетку одной из ламп, а это приводит к разбалансировке моста и отклонению стрелки прибора.

В большинстве описанных ранее авометров с измерительными ламповыми мостами используются стрелочные приборы относительно высокой чувствительности— порядка 0,5-1 мА.

В то же время у радиолюбителей часто встречаются более грубые приборы с Чувствительностью 5—10 мА. Учитывая это, в качестве основы описываемого прибора был выбран измерительный мост, в котором может быть использован магнитоэлектрический гальванометр с чувствительностью 5-10 мА, т. е. прибор, совершенно непригодный для обычного авометра.

В описываемом авометре (рис. 1), так же как и в ряде других подобных приборов, измерительный мост образован двумя триодами Л и Л и двумя сопротивлениями (R17R18), а гальванометр включен между катодами ламп, т. е. в одну из диагоналей моста.

Измеряемое постоянное напряжение подводится к гнездам «U» и «Общ» и через делитель напряжения подается на сетку лампы Л, которая используется в качестве усилителя постоянного тока. С выхода этого усилителя напряжение подводится к сетке одного из триодов (Л) измерительного места, а с сопротивления R19 напряжение подается на второй усилитель постоянного тока, собранного на лампе Л. С этого усилителя напряжение поступает на триод Л, входящий в измерительный мост.

Таким образом измеряемое напряжение воздействует одновременно на оба триода (Л и Л), входящие в измерительный мост, причем не непосредственно, а через усилители постоянного тока (Л и Л). Именно благодаря этому, а также вследствие глубокой отрицательной обратной связи, охватывающей лампы усилителя и измерительного моста, удается получить линейную зависимость отклонения стрелки прибора от величины измеряемого напряжения.

Кроме того, благодаря указанным особенностям показания прибора очень мало зависят от напряжения сети. Так, например, при изменении напряжения сети на 30% показания прибора изменяются всего на 1—2%. Для корректировки прибора при значительных отклонениях питающего напряжения введен потенциометр «Установка нуля» (R21). Установку нуля рекомендуется производить при замкнутых входных зажимах перед всеми видами измерений, за исключением измерения тока.

Входное сопротивление прибора при измерении постоянных напряжений всегда одинаково и равно общему сопротивлению делителя R2- R6 = 10Мом. При измерении напряжений до 5 в измеряемое напряжение подается на сетку лампы Л непосредственно. При измерении больших напряжений с части делителя R2 R5 снимается 1/5, 1/20, 1/50 или 1/200 часть измеряемого напряжения и таким образом во всех случаях напряжение на сетке лампы Л не превышает 5 В.

Измеряемое переменное напряжение НЧ (до 30 кГц) подводится к гнездам «U~» и «Общ» и через разделительный конденсатор С1 поступает на выпрямитель, в котором используется половина диода 6Х2П (Л). Нагрузкой этого выпрямителя по постоянному току является делитель R2 R6, с которого выпрямленное измеряемое напряжение подается на сетку лампы Л так же, как и при измерении постоянных напряжений.

Поскольку сопротивление делителя R2 и R6 очень велико, то конденсатор С1 не успевает разрядиться за время отрицательного полупериода и выпрямленное напряжение практически оказывается равным амплитуде измеряемого напряжения. Известно, что эффективное значение синусоидального напряжения составляет примерно 70% от его амплитуды. Поэтому если последовательно с делителем R2R6 включить гасящее сопротивление R1 величиной 4 МОм, то на нем упадет 30% выпрямленного напряжения и постоянное напряжение на делителе R2R6 численно будет равно эффективному значению измеряемого напряжения. Это позволяет при измерении постоянных и переменных напряжений пользоваться одной шкалой.

Следует отметить, что в случае измерения малых (до 0,5—1 В) переменных напряжений из-за нелинейности характеристики диода будет иметь место погрешность 5—10%.

Сопротивление R12 вместе с конденсатором С2 образует фильтр, предохраняющий сетку лампы от пульсаций выпрямленного напряжения. Сопротивление R12 одновременно ограничивает сеточный ток лампы и предохраняет прибор от перегрузки при значительных положительных напряжениях на сетке.

Для измерения переменных напряжений ВЧ рекомендуется сделать отдельный выносной выпрямитель по схеме рис. 1, б. В этом выпрямителе сопротивление R13 играет ту же роль, что и сопротивление R1 в основном диодном выпрямителе (рис. 1, а), и поэтому при измерении переменного напряжения ВЧ можно пользоваться шкалой постоянных напряжений, причем предел измерений так же, как и во всех других случаях, устанавливается переключателем П1. В качестве ПП1 можно применить любой точечный германиевый или кремниевый диод, причем наибольшее переменное напряжение ВЧ, которое можно будет измерить, будет зависеть только от рабочего напряжения диода. Так, например, используя диод ДГ-Ц7 (рабочее напряжение 125 В), можно измерять переменные напряжения ВЧ до 100 В, что в любительских условиях вполне достаточно.

Рис. 1

Для измерения сопротивлений в приборе применяется отдельная батарея Б1 от карманного фонаря с напряжением 4,5 В. Последовательно с этой батареей включается измеряемое сопротивление Rx и одно из эталонных сопротивлений R7 – R11 и измеряется падение напряжения на Rx. При разомкнутых входных зажимах (Rx = ∞) к сетке лампы Л приложено все напряжение батареи (4,5 в) и стрелка прибора отклоняется до конца шкалы. Установка шкалы омметра производится с помощью сопротивления R25 («Установка ») при разомкнутых входных щупах.

Для измерения постоянного тока используется универсальный шунт, подключаемый непосредственно к гальванометру в точках а, б. Данные сопротивлений универсального шунта зависят от чувствительности и сопротивления рамки гальванометра и могут быть рассчитаны или подобраны опытным путем. Для широко распространенного гальванометра ПМ-70 (чувствительность 5 мА, сопротивление рамки 15 Ом) эти сопротивления равны: R29 — 12 Ом, R28 — 2,4 Ом, R27 — 0,45 Ом и R26 — 0,15 Ом.

Вольтметр описываемого авометра нормально работает только в том случае, если к зажиму «U=» подключен «плюс», а к зажиму «Общ» — «минус» измеряемого напряжения. Для того чтобы можно было измерять постоянные напряжения любой полярности, не меняя местами щупы прибора, целесообразно ввести дополнительный переключатель П2, включив его по схеме рис. 1, в. В зависимости от положения этого переключателя вольтметром можно будет измерять как положительные, так и отрицательные напряжения.

При измерении переменных напряжений переключатель П2 должен находиться в таком же положении, как и при измерении положительного постоянного напряжения. k Выпрямитель анодного напряжения собран на половине диода 6Х2П по обычной однопол у пер йодной схеме.

КОНСТРУКЦИЯ И ДЕТАЛИ

Авометр смонтирован на угловом металлическом шасси размерами 60ХХ200Х120 мм., к которому прикреплена лицевая панель размерами 210Х180 мм. Расположение основных деталей на шасси показано на рис. 2. Сверху шасси установлены: силовой трансформатор, лампы и электролитический конденсатор С3, который обязательно должен быть изолирован от шасси. На лицевой панели укреплены: миллиамперметр типа ПМ-70, главный переключатель П1 выключатель сети 1 переключатель полярности постоянного напряжения П2. Готовый прибор вставляется в кожух размерами 220ХX140Х 160 мм., который может быть выполнен из листового металла толщиной 1—2 мм или из фанеры (см. рис. в заголовке статьи).

Авометр смонтирован на угловом металлическом шасси

Рис. 2

 

Конструкция выносного выпрямителя для измерения напряжения ВЧ показана на рис. 3, а. Корпус выпрямителя изготовлен из листовой латуни или жести. В кольце 2 из изоляционного материала укреплена однополюсная вилка 3. Кольцо 2 можно закрепить, сделав в нескольких местах по окружности корпуса неглубокие вмятины. Диск 4 изготовлен из жести и припаян непосредственно к корпусу. Выпрямитель соединен с прибором экранированным проводом.

Конструкция выносного выпрямителя для измерения напряжения ВЧ

Рис. 3

 

В качестве трансформатора Тру можно применить любой силовой трансформатор малой мощности (например, от приемников «Рекорд», «АРЗ», и т. п.), который позволит получить выпрямленное напряжение 200—300 В.

Как переключатель П1 использован стандартный галетный переключатель на 11 положений. Можно изменить систему коммутации, применив вместо неподвижных контактов гнезда, а вместо подвижных — двухполюсную вилку.

Сопротивления универсального шунта, а также сопротивления R7 и R8 могут быть изготовлены из высокоомного провода, например нихрома, константана и т. п. Для сопротивлений R8 , R28 и R29 следует брать провод диаметром 0,15 — 0,3 мм., а для сопротивлений R7 , R26 и R27 — диаметром 0,5— 0,6 мм.

В процессе налаживания прибора первоначально подгоняют и градуируют шкалу постоянных напряжений 5 В. Для этого вместо делителя R2 R6 временно включают сопротивление 8 — 12 МОм, подают на вход постоянное напряжение, измеренное эталонным вольтметром, и путем подбора сопротивления R24 добиваются того, чтобы стрелка прибора отклонялась до конца шкалы при среднем положении движка потенциометра R25.

После этого собирают делитель R2— R6, подают на вход различные эталонные напряжения и последовательно подгоняют сопротивления делителя, начиная с R6 и кончая R2.

Градуировка вольтметров переменного напряжения (ВЧ и НЧ) сводится к подбору сопротивлений R13 и R1 только на одном из пределов.

Шкала омметра градуируется обычным способом с помощью эталонных сопротивлений.

 

Р. Анатолич

 

Статьи

Ламповый звук
Тайны лампового звука
Волшебство лампового звука [1] [2]
Когда лампа лучше, чем транзистор [1] [2]
Почему вакуумный триод звучит музыкально
Схемотехника ламповых усилителей
Лампы или транзисторы? Лампы!
Однотактный ламповый усилитель для начинающих
Двухтактные ламповые усилители
Оконечный пушпульный усилитель - схема Уильямсона-Хафлера-Кероеса
Рекомендации по повторению реплики схемы Уильямсона-Хафлера-Кероеса
Однотактный усилитель с непосредственной связью. Схема Loftin-White [1] [2]
Трехламповый усилитель Губина
Однотактник на 300В
Усилители низкой частоты
Расчет каскада с нагрузкой в аноде
Однотактный усилитель на лампе 807 [1] [2]
Циклотрон. Мощный усилитель с выходными лампами ГУ-50
SE на RB300
Однотактный усилитель мощности на 300В. Модель WE91 для 90-х годов [1] [2]
Как улучшить звучание HI-FI системы [1] [2] [3] [4] [5] [6]
Лампы и звук: назад, в будущее [1] [2] [3] [4] [5]
Однотактный ламповый ... [1] [2] [3] [4] [5] [6] [7] [8] [9] [10]
Апгрейд усилителя XD845MKIII [1] [2]
"Усилитель" для наушников на SRPP [1] [2] [3] [4] [5] [6]
Ламповый High-End [1] [2] [3] [4] [5] [6] [7] [8] [9] [10] [11] [12] [13] [14] [15] [...]
Обзор журнала Glass Audio за 1998 год [1] [2]
Обзор журнала Glass Audio за 1999 год
Корректор для винила
Компенсированные регуляторы громкости
Усилитель НЧ
Даешь ONGAKU!
Tubesaurus Rex
Усилитель НЧ с комбинированной обратной связью
Прибор для измерения напряжения накала высоковольтных кенотронов
George Ohm живет в Харькове
Ревизия однотактного усилителя с межкаскадным трансформатором
Усилитель мощности НЧ с высоким КПД
Двухканальный усилитель НЧ
Усилитель НЧ с клавишным переключателем
Радиотрансляционные установки ТУ-50 и ТУ-100
Портативный проигрыватель
Усилитель НЧ
Усилитель без выходного трансформатора
Усилители без выходного трансформатора
Лампово-полупроводниковый УМЗЧ
Акустика
Бытовые акустические системы [1] [2] [3] [4] [5] [6] [7] [8] [9] [10] [11] [12] [13]
Там, где живут басы [1] [2] [3] [4] [5] [6]
The Onken Enclosure
Категории слухового восприятия [1] [2]
Три взгляда на акустику помещений [1] [2]
Акустика в которой мы живем [1] [2]
Акустика офисов
Мифы звукоизоляции
Акустика отделочных материалов
Акустический агрегат с объемным звучанием
Акустические свойства домашней мебели
Акустические линзы для громкоговорителей
Акустические измерения в практике радиолюбителя
Акустический фазоинвертор
Акустика студий [1] [2]
Полезные советы разработчиков Hi-End
Триод против пентода. Что выбрать? [1] [2]
SINGLE-ENDED VS PUSH-PULL [1] [2] [3] [4] [5] [6] [7]
Одноламповые усилители низкой частоты
Как пользоваться характеристиками электронных ламп
Многоламповые усилители НЧ на импортных лампах
Контактно-резисторный коммутатор входов
Как проверять аппаратуру в салоне
Что лучше: 4 или 8 Ом акустика?
Выходной трансформатор для однотактника. Быть или не быть линейным
Простая и быстрая проверка трансформаторов
Десять способов усовершенствовать вашу аудиокомнату
Испытатель ламп
Понижение уровня фона в усилителях
Evolution
Пять правил рационального питания
Трансформаторы в однотактных усилителях
Выходные трансформаторы
Измерение характеристик выходного трансформатора [1] [2]
Однотактный «Magnum»
Какая лампа нам нужна
Какая лампа нам нужна и будет ли она?
Улучшенная конфигурация листов трансформаторной стали
Должен ли УМЗЧ иметь малое выходное сопротивление? [1] [2]
Звук: интересные наблюдения
Вся правда об акустике ProAc
Немного теории лампового звука
О заметности искажений
История лампы 300B
Краткая история возникновения Hi-Fi
Возможен ли "виниловый ренессанс?" [1] [2] [3]
Hi-End: Мифы и реальность [1] [2]
Как не заблудиться в кабельных джунглях?
Побалуйте свои уши! [1] [2]
Ограничение сигнала усилителем – можно ли работать в клиппинге?
"Хай-Энд" умер, да здравствует "Хай-Энд"! [1] [2]
Блестящие звукозаписи [1] [2] [3]
Семь слов об ошибках аудиоэкспертизы
Частотные, нелинейные и фазовые искажения
Внешние факторы, влияющие на восприятие звука
Многоканальный окружающий звук [1] [2] [3] [4]
Магнитная запись: мифы и реальность
Теория схемотехники и звукотехники
Для начинающих. Как работает усилитель [1] [2]
Принципы схемотехники электронных ламп [1] [2] [3] [4] [5] [6] [7] [8]
Хрестоматия радиолюбителя, 1963г. [1] [2] [3] [4] [5]
Конструктивный расчет входных и выходных трансформаторов [1] [2]
Как работают звуковые трансформаторы
Элементарная теория схем с обратной связью [1] [2] [3]
Теория звукотехники
Двухтактно-параллельный усилитель НЧ
Особенности стандартов, описывающих мощность в звукотехнике
Отрицательная обратная связь в усилителях
Классы усилителей мощности
Элементарная теория триода [1] [2] [3] [4] [5] [6] [7] [8] [9]
Как работает лучевой тетрод
О мощности, ваттах, децибелах... [1] [2]
Теория звука [1] [2] [3] [4]
Звук и цифровые технологии [1] [2] [3] [4] [5] [6]
Проектирование абсолютно устойчивых усилителей [1] [2] [3] [4] [5] [6] [7] [8] [9] [10]
Звуковые форматы
Описание стандарта MP3
Правильная мощность
Начинающим. Радиолампа
Высококачественный усилитель низкой частоты
Объемный звук [1] [2] [3]
Парадоксы электрона
Вибратор к гитаре
Ламповый авометр
Старая и популярная 12АХ7/ЕСС83
Принцип устройства и работы электро-вакуумных приборов
Двухэлектродные лампы
Трехэлектродные лампы
Рабочий режим триода
Многоэлектродные и специальные лампы
Электронно-лучевые трубки
Газоразрядные и индикаторные приборы
Фотоэлектронные приборы
Собственные шумы электронных ламп
Особенности работы электронных ламп на СВЧ
Специальные электронные приборы для СВЧ
Надежность и испытание электровакуумных приборов
Основы схемотехники ламповых усилителей
Искажения в усилителях, их измерение, меры по снижению искажений
Основные сведения о радиокомпонентах
Источники питания
Каскады усиления мощности
Каскады предварительного усиления
Широкополосные усилители
Усилительный каскад с катодной нагрузкой [1] [2]
Life in Vacuum. EL34
Life in Vacuum. 6H8C, 6H9C
Life in Vacuum. SV572 SV6550 6C5C 6C3П/6C4П
Двойной триод 6Н3П
Пентод 6Ж5П
6П42С / 6П45С
Лучевой тетрод 6П1П
Пентод 6П14П в оконечном каскаде
Двойной триод 6Н14П
Кенотрон 1Ц11П
Демпферный диод 6Ц10П
Что и как мы слышим
 
 
 

Найти на сайте

 

Информация

Советы по использованию скотча

Продуктовые магазины России заказывают овощи из Белоруссии у "Белагроторг"

Фитопатология

 

Это интересно

В настоящее время большое распространение получили широкополосные акустические системы «объемного звучания», которые совместно с современными источниками звука позволяют получить действительно высоко художественное звучание программ УКВ ЧМ станций, магнитофонной записи, долгоиграющих граммофонных пластинок. Для того чтобы добиться высокого качества звучания, необходимо иметь и соответствующий усилитель НЧ.
    Наилучших результатов при воспроизведении звука можно достигнуть лишь в том случае, когда весь спектр звуковых частот воспроизводится несколькими каналами, каждый из которых нагружен отдельной группой громкоговорителей. Наиболее распространены двухканальные усилители, применяемые не только в специальной аппаратуре, но и в радиовещательных приемниках.
    Двухканальное усиление имеет неоспоримые преимущества перед одноканальным. Во-первых, при двухканальном усилении в каждом канале имеется самостоятельный оконечный каскад, что позволяет добиться не только наилучшего согласования с громкоговорителями, но и подобрать наиболее подходящую частотную характеристику канала путем введения частотнозависимой отрицательной обратной связи. Во-вторых, усиление полосы воспроизводимых звуковых частот по каналам и правильный выбор граничной частоты между ними резко снижают коэффициент взаимной модуляции, неизбежно возникающей в широкополосных усилителях НЧ. В-третьих, в двухканальном усилителе регулирование тембра может быть осуществлено простым изменением усиления соответствующего канала. Если учесть, что получение наиболее ощутимого эффекта объемности звучания возможно только при правильном выборе соотношения мощностей, подводимых к различным группам громкоговорителей, то станет понятно, почему двухканальному усилителю НЧ следует отдать предпочтение.
    На рис. 1 приведена схема простого двухканального усилителя, собранного на пяти пальчиковых лампах. Усилитель воспроизводит полосу частот от 60 до 15 000 Гц. Его чувствительность 120 мВ. Так как основные мощности в звуковом спектре передаются на низших частотах, номинальная выходная мощность канала низших частот выбрана 4 ВА при коэффициенте нелинейных искажений не выше 2,5%, а максимальная доходит до 9 ВА. Выходная мощность канала высших звуковых частот 1,5 ВА при коэффициенте нелинейных искажений не более 4,5%, а максимальная достигает 3 ВА. Ручная регулировка громкости обеспечивает изменение уровня сигнала на 56 дБ, а регуляторы тембра — не менее 26 дБ. Уровень фона на выходе канала низших частот при максимальном усилении не превышает — 46 дБ. Коэффициент взаимно модуляционных искажений канала высших звуковых частот не более 2%. Частотные характеристики каналов усилителя показаны на рис. 2.
    Колебания НЧ поступают через регулятор громкости R1 на сетку левого по схеме триода лампы первого каскада Л1а, работающего во всем спектре звуковых частот. Разделение на каналы происходит после этого каскада.
    Сигналы высших звуковых частот через фильтр R4R5C2C3 поступают на правый триод Л1б и, усиленные, подводятся к управляющей сетке оконечной лампы выходного каскада Л2 через регулятор тембра высших звуковых частот R9. В анодную цепь этой лампы включен выходной трансформатор Tp1 ко вторичной обмотке которого подключены соединенные параллельно громкоговорители Гр1 и Гр2, воспроизводящие высшие частоты. Первичная обмотка выходного трансформатора заблокирована конденсатором С14 небольшой емкости, устраняющим возбуждение усилителя на высоких частотах (порядка 20—25 кГц).
    Сигналы низших звуковых частот через фильтр R11R12R133С6С5 подводятся к сетке левого по схеме триода лампы Л3а. Усиленные колебания через регулятор тембра низших частот R18 поступают на сетку лампы Л3б фазоперевора- чивающего каскада. Оконечный каскад канала низших частот выполнен по двухтактной схеме на лампах Л4 и Л5. Выходной трансформатор этого канала Тр2 питает громкоговорители Гр3 и Гр4, включенные последовательно. Для срезания высших звуковых частот первичная обмотка выходного трансформатора заблокирована конденсатором С13.
    Далее...

 

Усилитель ламповый XD850MKIII

XD850MKIII

Акустическая система Music Angel One

Music Angel One

Усилитель ламповый XD800MKIII

XD800MKIIIIII

Усилитель ламповый MINIP1

MINIP1